
集装箱喷雾水枪
应用场景
在2016年1月1日或之后建造的、设计用于在气象甲板上或以上运载集装箱的船舶,应携带至少一个水雾喷枪。
结构和材料
水雾枪:SS316
锤头:45#钢(镀镍)
标准:符合MSC.365(93)修订
在2016年1月1日或之后建造的、设计用于在气象甲板上或以上运载集装箱的船舶,应携带至少一个水雾喷枪。
结构和材料
水雾枪:SS316
锤头:45#钢(镀镍)
标准:符合MSC.365(93)修订
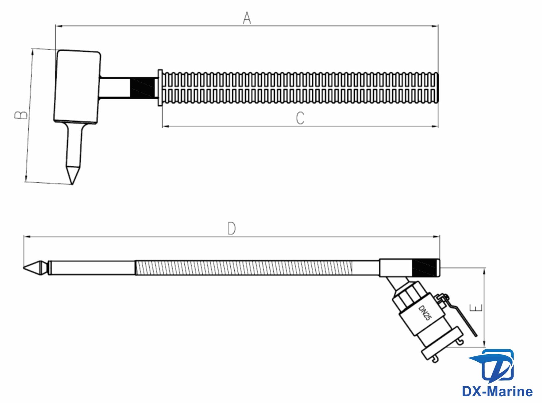
冲击锤的锤尖及刃部热处理后硬度为洛氏 HRC48~56,能够刺穿 2mm 标准干货集装箱的箱壁无任何困难。在工厂试验时使用冲击锤的锤尖对准集装箱箱壁用力敲击,锤尖能完全刺穿 2mm 的 Q235A 热轧钢板,且枪尖刃部应无明显的缺刃、卷边和裂缝。
正常工作压力和流量 : 50L/min @0.6Mpa
最大工作压力 : 1 Mpa
喷射范围 : 6m @0.6 Mpa
进口尺寸 : DN25
冲击锤材质 : 45# ( 表面镀镊 )
钻孔尺寸:空;19mm,深77mm
冲击锤长度 : 478mm
水枪材质 : SS316
开关 : DN25 铜合金球阀
喷嘴 : 16x&开口; 枪口周围2mm
喷枪长度 : 520mm
进口接头 : STORZ 25A

结构
标记:荧光素反光标签
开关:DN25球阀,主体:
铜合金制作
材料:SS316不锈钢
冲击锤-45# (表面镀镍 )
公称压力 MPa |
喷射流量 L/min |
射 程 m |
冲击锤尺寸 |
喷雾枪尺寸 |
进口螺纹 |
|||
A mm |
B mm |
C mm |
D mm |
E mm |
||||
0.6 |
≥55±8% |
≥6.0±8% |
478±5 |
167±5 |
345±5 |
520±5 |
100±5 |
G1 |
操作步骤
1.将水带与集装箱喷雾枪接头连接。
2.拿起冲击锤,双手紧握冲击锤的橡胶手柄处,将冲击锤的锤尖对准集装箱箱壁,用力敲击直到锤尖完全穿过集装箱箱壁;取出冲击锤。
3.举起喷雾枪,将枪尖穿过集装箱箱壁上的孔,如果无法穿过,再用冲击锤的锤尾敲击喷雾枪的枪尾直到枪尖完全穿过箱壁,然后打开球阀开关,进行喷雾灭火。